吊りボルト支持具シリーズ
C型ハンガー、ALCインサートハンガー、モクハンガー[製造・販売中止]
吊りボルト接続用ハンガー 軽天・軽設備用 W3/8-16
下地金具 ALC用・コンクリート用・木用・C形鋼(鉄材)用
大幅な工期短縮・コスト削減できます
下地金具 ALC用・コンクリート用・木用・C形鋼(鉄材)用
大幅な工期短縮・コスト削減できます
製造・販売中止のお知らせ
当ページに掲載している「C型ハンガー、ALCインサートハンガー、モクハンガー」の製造・販売は中止しました。
なお、リップ溝形鋼(Cチャン)用の吊りボルトハンガーについては、販売中の【チャンネルクランプ Cチャン・リップ溝形鋼専用クランプ(W3/8-16) 軽天・軽設備用】をご利用ください。
2020年1月
イイファス株式会社
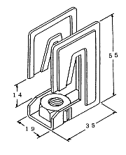
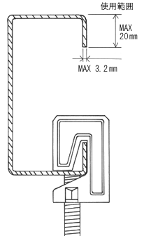
C型ハンガー
ALCインサートハンガー(左) モクハンガー(右)
高ナット ストッパー付き(ナット雌ネジ中心に突起あり)
特長
- 簡単・確実に吊りボルトを取付できます。
- ALC板(気泡コンクリート)・木材・鉄材・C型鋼に、W3/8-16(3分)の吊りボルトを固定します。
- コスト削減・工事の省力化を図れます。
用途
- W3/8-16の吊りボルト(3分寸切ボルト)を取付し各種設備を支持する金具です。
- 軽量天井、LSG、軽設備、配管、電気、内装、空調工事などに。
施工例
C型ハンガー 施工例

ALCインサートハンガー施工例

- 1.寸切ボルトをセットしインサートの切り欠き部に差し込む。
- 2.寸切ボルトがインサートにあたるまで締め、完了。
モクハンガー施工例

ハンマーで打ち込むだけ
仕様表
| 品 名 | 用 途 | 最大引張強度 (金具破断) |
入 数 |
| C型ハンガー | リップ溝形鋼(Cチャン) | C形鋼 4903N(500kgf) H形鋼 2942N(300kgf) 山形鋼 2942N(300kgf) |
300 |
| ALCインサートハンガー | ALCインサート用 | 150kgf | 100 |
| モクハンガー | 木材用 | 100kgf | 40 |
品 名 |
入 数 |
スチールナットストッパー付き W3/8×30L |
150 |
スチールナットストッパー付き W3/8×50L |
70 |
●許容荷重=最大引張強度の1/4以下を目安にご使用下さい。
寸法図
C型ハンガー


亜鉛メッキ鋼板PL-1.6
1個当り重量 55g
モクハンガー

ALCインサートハンガー

製品カタログ
| ALCインサートハンガー ・モクハンガー 製品カタログ |
|---|
![]() |
| C型ハンガー 製品カタログ |
|---|
![]() |
| C型ハンガー 引張強度表 |
|---|
![]() |
| ALCインサートハンガー 引張強度表 |
|---|
![]() |
| モクハンガー 引張強度表 |
|---|
![]() |
イイファス製品の総合カタログ、その他の製品のカタログはこちらよりご覧ください。
お問い合わせ




