シグロック® ブレースシリーズ 吊りボルト支持具・振れ止め交差金具
つり天井・軽天・軽設備用 落下防止・地震対策
吊りボルト支持具 N-Nタイプ、N-WNタイプ
吊りボルト支持具 RB-Nタイプ、B-Nタイプ
吊りボルト支持具 B-WNタイプ
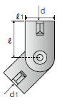
吊りボルト支持具 RB-WNタイプ
振れ止め交差金具 (左から) CB, CB-Wタイプ
用途
- 天井から配管、配線など機材を吊り下げる支持金具。
- 軽量天井、軽設備、器材などをインサートアンカーなどからボルトをかいして吊り下げることが出来ます。
- 吊りボルト、寸切りボルトの横振れを防止します。耐震、地震対策にも最適。
- ボルト吊り支持金具、ボルト振れ止め交差金具。
- ボルトを交差して嵌め込み固定し、振れ・横ぶれなどを防ぎます。
- 優れた強度。
施工例
・軽量天井下地 施工例

※各パーツにW3/8のナット、W1/2のナット、W5/16のナットが組み込んであります。
(例:品番「N3/8xN3/8」のN3/8の意味はW3/8(3分)のナットが組み込んであり、W3/8のボルトを吊り下げることができます。)
- 吊り天井の落下対策に
- 吊りボルトの揺れ止め対策に
- 吊りボルト・寸切りボルトの取り付け角度は自由自在
- RB タイプは360 °自由回転します
- ブレースシリーズは全てユニクロメッキ仕上げ
- B-N、B-WN、RB-N、RB-WN タイプのボルト寸法は特注生産可能
仕様表
※回転しますので取り付け角度は自在です。
▼N-Nタイプ(ナット付き+ナット付き)
| 品番 | d × d1 | ℓ (㎜) | ℓ1 (㎜) | 最大引張強度 N(kgf) | ケース |
|---|---|---|---|---|---|
| 吊りボルト支持具 N3/8×N3/8 | W3/8×W3/8 | 27 | 20 | 9,807 (1,000) | 70×4 |
| 吊りボルト支持具 N1/2×N1/2 | W1/2×W1/2 | 32 | 25 | 10,787 (1,100) | 45×4 |
| 吊りボルト支持具 N3/8×N1/2 | W3/8×W1/2 | 30 | 25 | 10,787 (1,100) | 50×4 |
| 吊りボルト支持具 N5/16×N3/8 | W5/16×W3/8 | 27 | 20 | 9,807 (1,000) | 70×4 |
▼N-WNタイプ(ナット付き+2方向にナット付き)
| 品番 | d × d1× d2 | ℓ (㎜) | ℓ1 (㎜) | 最大引張強度 N(kgf) | ケース |
|---|---|---|---|---|---|
| 吊りボルト支持具 N3/8×WN3/8 | W3/8× W3/8×W3/8 | 27 | 20 | 9,807 (1,000) | 50×4 |
| 吊りボルト支持具 N1/2×WN1/2 | W1/2× W1/2×W1/2 | 32 | 25 | 10,787 (1,100) | 30×4 |
| 吊りボルト支持具 N3/8×WN1/2 | W3/8× W1/2×W1/2 | 30 | 25 | 10,787 (1,100) | 35×4 |
| 吊りボルト支持具 N5/16×WN3/8 | W5/16× W3/8×W3/8 | 27 | 20 | 9,807 (1,000) | 50×4 |
▼B-Nタイプ(ボルト付き+ナット付き)
| 品番 | d × d1 | ℓ (㎜) | ℓ1 (㎜) | b (㎜) | 最大引張強度 N(kgf) | ケース |
|---|---|---|---|---|---|---|
| 吊りボルト支持具 B3/8-25×N3/8 | W3/8×W3/8 | 27 | 20 | 23 | 9,807 (1,000) | 60×4 |
| 吊りボルト支持具 B1/2-25×N1/2 | W1/2×W1/2 | 32 | 25 | 23 | 10,787 (1,100) | 35×4 |
| 吊りボルト支持具 B3/8-25×N1/2 | W3/8×W1/2 | 30 | 25 | 23 | 10,787 (1,100) | 45×4 |
▼B-WNタイプ(ボルト付き+2方向にナット付き)
| 品番 | d × d1× d2 | ℓ (㎜) | ℓ1 (㎜) | b (㎜) | 最大引張強度 N(kgf) | ケース |
|---|---|---|---|---|---|---|
| 吊りボルト支持具 B3/8-25×WN3/8 | W3/8× W3/8×W3/8 | 27 | 20 | 23 | 9,807 (1,000) | 45×4 |
| 吊りボルト支持具 B1/2-25×WN1/2 | W1/2× W1/2×W1/2 | 32 | 25 | 23 | 10,787 (1,100) | 25×4 |
| 吊りボルト支持具 B3/8-25×WN1/2 | W3/8× W1/2×W1/2 | 30 | 25 | 23 | 10,787 (1,100) | 30×4 |
▼RB-Nタイプ(ボルト付き+ナット付き、360°回転型)
| 品番 | d × d1 | ℓ (㎜) | ℓ1 (㎜) | b (㎜) | h (㎜) | 最大引張強度 N(kgf) | ケース |
|---|---|---|---|---|---|---|---|
| 吊りボルト支持具 RB3/8-45×N3/8 | W3/8×W3/8 | 27 | 20 | 23 | 20 | 8,336 (850) | 45×4 |
| 吊りボルト支持具 RB3/8-90×N3/8 | W3/8×W3/8 | 27 | 20 | 68 | 20 | 8,336 (850) | 40×4 |
| 吊りボルト支持具 RB1/2-50×N1/2 | W1/2×W1/2 | 32 | 25 | 28 | 20 | 10,787 (1,100) | 25×4 |
| 吊りボルト支持具 RB1/2-90×N1/2 | W1/2×W1/2 | 32 | 25 | 68 | 20 | 10,787 (1,100) | 20×4 |
| 吊りボルト支持具 RB3/8-45×N1/2 | W3/8×W1/2 | 30 | 25 | 23 | 20 | 8,336 (850) | 35×4 |
| 吊りボルト支持具 RB3/8-90×N1/2 | W3/8×W1/2 | 30 | 25 | 68 | 20 | 8,336 (850) | 30×4 |
▼RB-WNタイプ(ボルト付き+2方向にナット付き、360°回転型)
| 品番 | d × d1× d2 | ℓ (㎜) | ℓ1 (㎜) | b(㎜) | h(㎜) | 最大引張強度 N(kgf) | ケース |
|---|---|---|---|---|---|---|---|
| 吊りボルト支持具 RB3/8-45×WN3/8 | W3/8× W3/8×W3/8 | 27 | 20 | 23 | 20 | 8,336 (850) | 35×4 |
| 吊りボルト支持具 RB3/8-90×WN3/8 | W3/8× W3/8×W3/8 | 27 | 20 | 68 | 20 | 8,336 (850) | 30×4 |
| 吊りボルト支持具 RB1/2-50×WN1/2 | W1/2× W1/2×W1/2 | 32 | 25 | 28 | 20 | 10,787 (1,100) | 20×4 |
| 吊りボルト支持具 RB1/2-90×WN1/2 | W1/2× W1/2×W1/2 | 32 | 25 | 68 | 20 | 10,787 (1,100) | 15×4 |
| 吊りボルト支持具 RB3/8-45×WN1/2 | W3/8× W1/2×W1/2 | 30 | 25 | 23 | 20 | 8,336 (850) | 25×4 |
| 吊りボルト支持具 RB3/8-90×WN1/2 | W3/8× W1/2×W1/2 | 30 | 25 | 68 | 20 | 8,336 (850) | 25×4 |
▼振れ止め交差金具
| 品番 | d | ℓ (㎜) | ℓ1 (㎜) | 最大引張強度 N(kgf) | ケース |
|---|---|---|---|---|---|
| CB(ボルト2本固定) | W3/8 用 | 70 | 22 | 2,354 (240) | 20×4 |
| CB-W(ボルト3本固定) | W3/8 用 | 70 | 34 | 1,765 (180) | 10×4 |
※許容荷重=最大引張強度の1/4以下を目安にご使用下さい。
製品カタログ
| シグロック® ブレースシリーズ 製品カタログ |
|---|
![]() |
| 振れ止め交差金具 引張強度表 |
|---|
![]() |
許容荷重=最大引張強度の1/4以下を目安にご使用下さい。
イイファス製品の総合カタログ、その他の製品のカタログはこちらよりご覧ください。
承認図(標準仕様書)
| シグロック®ブレースシリーズ N-Nタイプ・N-WNタイプ 承認図(標準仕様書) |
|---|
|
| シグロック®ブレースシリーズ B-Nタイプ・B-WNタイプ 承認図(標準仕様書) |
|---|
|
| シグロック®ブレースシリーズ RB-Nタイプ・RB-WNタイプ 承認図(標準仕様書) |
|---|
|
お問い合わせ
当ウェブサイトに掲載している情報・画像等を、当社の許可なく複製、転用等の二次利用を行うことは禁止します。また、製品は改良のため予告なく変更することがありますので、ご了承ください。




