断熱工法用パーツ(樹脂製 全ねじボルト、樹脂製ナット、樹脂ワッシャー)
エンプラ寸切ボルト(樹脂製 全ねじボルト) / エンプラ高ナット(樹脂製高ナット) / エンプラ丸高ナット(樹脂製丸高ナット) / エンプラワッシャー(樹脂ワッシャー)
エンプラ高ナット スチールボルト付き、エンプラ高ナット、プラスチックワッシャー
エンプラ寸切ボルト
エンプラ寸切ボルト ブラック
エンプラワッシャー
エンプラ丸高ナット
特長
- 熱伝導率がスチールの約1/230。
- 引張強度がスチールの約1/6

※安全率は使用状態により異なりますので十分に考慮してご使用ください。
施工例
屋根使用例

内・外装使用例

エンプラ寸切ボルト(樹脂製 全ねじボルト) 仕様表
品 番
| ネジサイズ
| ΦD (mm)
| ℓ最大長 (mm)
| 材 質
|
|---|---|---|---|---|
| 8×1000 | M8×1.25 |
8.0 |
1000 (ご指定寸法に カット可能) |
エンジニアリング プラスチック |
| 10×1000 | M10×1.5 |
10.0 |
||
| 12×1000 | M12×1.75 |
12.0 |
||
| W5/16×1000 | W5/16-18 |
7.9 |
||
| W3/8×1000 | W3/8-16 |
9.5 |
||
| W1/2×1000 | W1/2-12 |
12.7 |
||
| W3/8×1000ブラック | W3/8-16 |
9.5 |
||
| W1/2×1000ブラック | W1/2-12 |
12.7 |
エンプラ高ナット(樹脂製高ナット) 仕様表
品 番
| ネジサイズ
| 六角対辺 (mm)
| ℓ (mm)
| 入 数
| 材 質
|
|---|---|---|---|---|---|
| N3/8×3/8×50 | W3/8-16 |
17 |
50 |
150×4 |
ポリアセタール(POM) |
| N3/8×17×8 | 8 |
300×10 |
エンジニアリング プラスチック ガラス30%入り |
エンプラ高ナット(樹脂製高ナット)スチールボルト付き 仕様表
品 番
| ネジサイズ
| 六角対辺 (mm)
| ℓ1×ℓ (mm)
| 入 数
| 材質・表面処理
|
|---|---|---|---|---|---|
| B17×3/8×50 | w3/8-16 |
17 |
17 ×50 |
100×4 |
ナット- ポリアセタール(POM) ボルト- スチールクロメートメッキ |
| B29×3/8×50 | 29×50 |
||||
| B34×3/8×50 | 34×50 |
||||
| B69×3/8×50 | 69×50 |
プラスチックワッシャー 仕様表
品番
| 内径 (mm)
| 外径 (mm)
| 厚み (mm)
| 入数
| 材質
|
|---|---|---|---|---|---|
プラスチックワッシャー M10 |
10.5 |
21 |
2.0 |
1000×10 |
樹脂(POM)製 |
エンプラ丸高ナット(樹脂製丸高ナット) 仕様表
※寸法は任意に設定できます。
| 内ネジ | M6・W1/4 | M8・W5/16 | M10・W3/8 | M12・W1/2 | 任意 | 材質 |
|---|---|---|---|---|---|---|
| ΦD | Φ13 | Φ15.5 | Φ18 | Φ23 | Φ25.5, Φ28, Φ30.5, Φ35.5 |
エンジニアリング プラスチック |
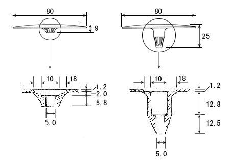
エンプラワッシャー(樹脂ワッシャー) 仕様表

| 品 名 | 入 数 |
|---|---|
| エンプラワッシャー 80×9 | 500 |
| エンプラワッシャー 80×25 | 250 |
製品カタログ
| エンプラ寸切ボルト・ナット 製品カタログ |
|---|
![]() |
| エンプラ寸切ボルト・ナット 旧・製品カタログ |
|---|
![]() |
| エンプラ寸切(全ねじ)ボルト M8 引張試験成績書 |
|---|
![]() |
| エンプラ寸切(全ねじ)ボルト M10 引張・剪断試験成績書 |
|---|
![]() |
| エンプラ寸切(全ねじ)ボルト M12 引張・剪断試験成績書 |
|---|
![]() |
| エンプラ寸切(全ねじ)ボルト W5/16 引張・剪断試験成績書 |
|---|
![]() |
| エンプラ寸切(全ねじ)ボルト W3/8 引張・剪断試験成績書 |
|---|
![]() |
| エンプラ寸切(全ねじ)ボルト W1/2 引張・剪断試験成績書 |
|---|
![]() |
| エンプラ寸切(全ねじ)ボルト W3/8ブラック 引張強度表 |
|---|
![]() |
| エンプラ高ナット 引張試験成績書 |
|---|
![]() |
| エンプラ丸高ナットΦ15.5 引張試験成績書 |
|---|
![]() |
| エンプラ丸高ナットΦ18 引張・剪断試験成績書 |
|---|
![]() |
| エンプラ丸高ナットΦ23 引張・剪断試験成績書 |
|---|
![]() |
許容荷重=最大引張強度の1/4以下を目安にご使用下さい。
イイファス製品の総合カタログ、その他の製品のカタログはこちらよりご覧ください。
承認図(標準仕様書)
お問い合わせ













